产品展示
AD-1.5X3,KSS,绝缘配线槽Wiring Duct (Slotted),KSS配线器材,台湾KSS,KSS官网,KSS代理
首页 / 产品中心 / 配线槽
产品标题:AD-1.5X3,KSS,绝缘配线槽Wiring Duct (Slotted),KSS配线器材,台湾KSS,KSS官网,KSS代理
产品ID:VIB20140815000836734
品  牌:KSS凯士士
所在地:中国 上海
价  格:面议 (大量采购价格面议)
库存状态:货期待查
更新日期:2025-9-12 11:57:10
咨询电话:(+86)021-51699285
咨询Q Q: 2695337323
产品简述

KSS,KSS扎带,KSS线槽,kss端子,KSS配线标志,KSS尼龙扎线带,KSS电缆固定头,KSS固定头,PC板隔离柱,KSS接线头,KSS尼龙浪管,KSS管接头,PC板部品,KSS波纹管,KSS金属浪管,KSS尼龙波纹管,KSS扎带固定座,接线端子,KSS接头及套管,KSS闭端端子,KSS配线器材,KSS尼龙铆钉,台湾凯士士KSS

产品详情

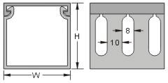
0101 KSS 绝缘配线槽Wiring Duct (Slotted)



材質: 採用UL合格之南亞PVC(灰色)製成,通過美規94V-0防火等級,歐規M1防火等級,耐燃性佳,絕緣性良好,不自燃,耐溫至85℃。
構造: 由槽底及槽蓋兩部份組成,槽底兩側設出線孔,以組合後外部之寬、高為規格標準,UL測試溫度50℃。

AD 系列 8mm出線孔

HD 系列 4mm出線孔

SD 系列 密封式
單位:mm
  型 號
Item No.
寬X高
WxH
電線容量
Wire To Be Contained
(以2.0平方計算)
長 度
Length
出線孔 密封式
8mm 4mm
AD-1X2 HD-1X2   25 x 50 20 ~ 25 pcs