| 产品标题:HQ-0.7,0101 KSS 含胶型防滑配线槽,KSS配线器材,台湾KSS,KSS官网,KSS代理 产品ID:VIB20140807153845734 品 牌:KSS凯士士 所在地:中国 上海 价 格:面议 (大量采购价格面议) 库存状态:货期待查 更新日期:2025-11-17 9:38:19 咨询电话:(+86)021-51699285 咨询Q Q: 2695337323 |
KSS,KSS扎带,KSS线槽,kss端子,KSS配线标志,KSS尼龙扎线带,KSS电缆固定头,KSS固定头,PC板隔离柱,KSS接线头,KSS尼龙浪管,KSS管接头,PC板部品,KSS波纹管,KSS金属浪管,KSS尼龙波纹管,KSS扎带固定座,接线端子,KSS接头及套管,KSS闭端端子,KSS配线器材,KSS尼龙铆钉,台湾凯士士KSS



| 材質: | 採用UL合格之南亞PVC(灰色)製成,通過美規94V-0防火等級,歐規M1防火等級,耐燃性佳,絕緣性良好,不自燃,耐溫至85℃。膠層為PE共聚合物 (PE copolymer)。 | |
| 構造: | 由槽底及槽蓋兩部份組成,槽底兩側設出線孔,以組合後外部之寬、高為規格標準,UL測試溫度50℃。 | |
| 特點: | 1. | 配線槽底座兩側出線孔互相對齊,任何處鋸斷或接成 L 型均可保持盤面美觀、整齊。 |
| 2. | 槽蓋經特殊設計,與配線槽底座組合後絕不脫落,且接合面平滑,不割傷手及擦損附近配線。 | |
| 3. | 出線孔低、組合容易、拆卸簡單,易於配線。 | |
| 4. | 於配線槽上蓋掛勾之內面設有「特殊止滑膠層」,能有效增加澀度及黏度,使線槽與上蓋密合,防止上蓋滑動、脫落,更利垂直上下佈線作業,提昇施工效率。 | |
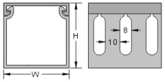
![]() MQ-8mm出線孔 適用於動力盤,高壓盤之配線。 可配合18mm間距之端子盤使用。 |
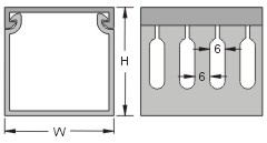
![]() KQ-6mm出線孔 適用於動力盤,高壓盤之配線。 可配合18mm間距之端子盤使用。 |
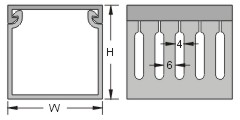
![]() HQ-4mm出線孔 適用於動力盤,高壓盤之配線。 可配合18mm間距之端子盤使用。 |
| ||||||||
| 型 號 Item No. |
寬X高 WxH |
電線容量 Wire To Be Contained (以2.0平方計算) |
長 度 Length | |||||
| 出線孔 | ||||||||
| 8mm | 6mm | 4mm | ||||||
| MQ-0.5 | HQ-0.5 | 15 x 25 | 5 ~ 12 pcs | 1.7M | ||||
| MQ-0.7 |
产品型号
更多产品
MORE+
![]()
| |||||||